Ferrari s novim patentom. Zašto su razvili neobičan oblik klipa?
Talijanska sportska marka iznenadila je novim pristupom konstrukciji motora. Ferrari je patentirao rješenje u kojem su tradicionalni okrugli klipovi zamijenjeni elementima čiji oblik podsjeća na speedway stazu – pravokutnik s polukrugovima na krajevima. Koje prednosti takvog rješenja motivirale su Ferrarijeve inženjere?
U potrazi za novom geometrijom
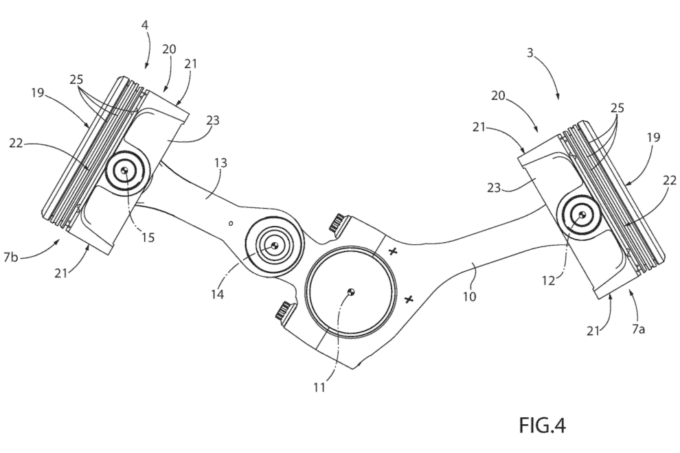
Iako Ferrari nije prvi proizvođač koji eksperimentira s klipovima nestandardnih oblika, njegov prijedlog se ističe neobičnom kombinacijom provjerenih ideja i hrabrih modifikacija. Novi patent predviđa korištenje klipova koji imaju geometrijski oblik poznat iz pokušaja koje su poduzimali, među ostalima, Honda u utrkaškim motociklima NR iz 90-ih godina. Umjesto klasičnog kruga, Ferrari predlaže oblik sličan speedway stazi – ravni pravokutnik s polukružnim završecima, koji podsjeća na kapsulu.
S tehničke točke gledišta ta promjena ima značajne posljedice. Tradicionalna formula za izračunavanje obujma motora (temeljena na promjeru klipa i njegovom hodu) prestaje biti korisna. Nova geometrija zahtijeva podjelu obujma cilindra na jednostavna tijela – paralelopiped i dva polucilindra – kako bi se odredio stvarni radni obujam.

Izvor: European Patent Office, EP4517043A1
Skraćivanje bez kompromisa
Najveća prednost novog rješenja je kompaktnost. Uspoređujući dva cilindra – jedan s okruglim klipom, drugi s ovalnim – pokazuje se da oba mogu imati gotovo identičan obujam, ali će drugi biti nekoliko desetaka posto kraći. U slučaju V8 ili V12 agregata to znači zamjetno skraćivanje cijeloga motora, što se kod sportskog automobila s prednjim motorom odražava na povoljniju raspodjelu mase.
No Ferrari se na tome nije zaustavio. Sljedeći korak bio je razvoj nove konstrukcije klipnih šipki. Umjesto dvije odvojene šipke spojene s jednim koljenastim čepom – što rezultira malim pomakom između redova cilindara – primijenjen je spojeni sustav “sijamskog” tipa. Jedna klipna šipka je glavna, druga zglobna, a zajedno tvore skup koji skraćuje koljenasto vratilo, poboljšava njegovu krutost i eliminira uzajamne pomake cilindara. To se zauzvrat odražava na smanjenje sila koje uzrokuju vibracije.

Izvor: European Patent Office, EP4517043A1
Izazovi i kompromisi
Naravno, svako novatorsko rješenje povlači sa sobom nove izazove. Neobičan oblik klipa znači teže brtvljenje komore za izgaranje, veći rizik od nejednake istrošenosti, kao i potencijalne probleme s jednolikim izgaranjem smjese. Problem može biti i činjenica da je klipni čep stabilan samo u odnosu na kraću os klipa, što povećava rizik od ljuljanja u cilindru.
Ferrari ipak tvrdi da moderne tehnologije obrade, lagani materijali i iskustva stečena od drugih proizvođača (npr. Honda) omogućavaju minimiziranje tih nedostataka. Proizvođač također naglašava da je prema njegovoj procjeni novo rješenje “ekonomski isplativo” – iako što to znači u kontekstu Ferrarija, ostaje otvoreno za tumačenje.
Korak prema novom standardu?
Ne može se ne primijetiti da Ferrari u sadržaju patenta više puta svoj novi agregat naziva “drive engine”, odnosno pogonski motor, kao da želi jasno naglasiti da se ne radi o dosadnom, standardiziranom generatoru energije za hibridni pogon, već o punoprsvnom srcu sportskog automobila. Sve upućuje na to da će novi sustav naći primjenu prije svega u vozilima s prednjim motorom – tamo gdje skraćivanje pogonskog agregata ima izravan utjecaj na raspodjelu mase i upravljanje autom.
Iako se ne bi trebalo očekivati da će ta tehnologija uskoro doći do popularnih modela C-segmenta, ona može odrediti smjer razvoja budućih motora u premium klasi i superautomobilima. Posebno u svijetu u kojem prostor pod poklopcem postaje sve vrijedniji resurs.
Ferrari dokazuje da još uvijek zna iznenaditi inženjerskom kreativnošću. Umjesto da slijedi utabane staze downsizinga i elektrifikacije, stavlja na promišljenu mehaničku revoluciju – s klipovima u obliku speedway staze kao simbolom inženjerske hrabrosti i smjelosti.